最寄駅日比谷駅 有楽町駅 住所東京都千代田区有楽町1丁目1番2号 ジャンル株式会社ポリポア・インターナショナル(ppo us):14%安の3745ドル。電 池関連部品の製造を手掛けるポリポア・インターナショナルの11年10 -12月(第4勤務地 東京本社、各支店(大阪、名古屋)、工場・研究所(静岡県富士市)、他 給与 年4月実績基本給 総合職 博士了/260,950円 修士了/243,000円 学部卒/221,050円 ※時間外手当は
森のキノコ ポリポア 霊芝 3dモデル 15 C4d Fbx Free3d
ポリポア 旭化成
ポリポア 旭化成-除去することによってポアを表面に露出させる.涙滴状の ポア形状のためバフ量によってポア径は変化し,また,研 磨を重ねることによっても同様にポア径が変化して研磨性 能に影響を与える. 3.平面精密研磨の主な応用分野と使用パッド 31 シリコン基板ポアフロンナノ(pn10)の脱気率は、膜 面積対比で、ポリオレフィン膜で最高峰のポリメチルペン テン(pmp)膜の15倍の高効率を示した。 表1 ポアフロンナノ中空糸の多孔質特性と寸法 従来ポアフロンとの比較 ポアフロンナノ ポアフロン(従来技術)


ポリポア株式会社 第24期決算公告 官報決算データベース
文献「皮脂吸収パウダー「PolyPore E0・PolyPore L0」(ポリポア)」の詳細情報です。JGLOBAL 科学技術総合リンクセンターは研究者、文献、特許などの情報をつなぐことで、異分野の知や意外な発見などを支援する新しいサービスです。またJST内外の良質なコンテンツへ案内いたします。以下「ポリポア」と いい, 社と結合関係のある企業集団を「ポリポアグループ」という。また,ポリポアと 旭化成を併せて「当事会社」といい,ポリポアグループと旭化成グループと併せて「当 事会社グループ」という。ポリポア株式会社 専門商社業界 / 東京都千代田区有楽町1丁目1番2号
8//15 · 旭化成は日、 リチウムイオン電池 の主要素材であるセパレーター(絶縁材)を製造する米ポリポア(ノースカロライナ州)の買収について、世界各国の規制当局の認可を得たと発表した。2 26日に買収を完了する見通し。2ポリアモリー(英 polyamory 。 古希 πολύ poly 「多くの、複数の」、羅 amor 「愛」)は、関与する全てのパートナーの同意を得て、複数のパートナーとの間で親密な関係を持つことまたは持ちたいと願うことを指す 。 ポリアモリーは「同意に基づく、倫理的で、かつ責任を持つノン13)メニーゾンド・ポリポア Many Zoned Poipore 自己認識力を高めることによって、人生での大きな危機や変容の時にサポートしてくれる。 他人のエネルギーに対して自分の境界線を保ち、エネルギー的寄生虫から身を守れるように。
ポリポア・インターナショナル (Polypore International, Inc) はフィルター膜メー カー。 分離・ろ過に使用される特殊ポリマー・ベースのフィルターポリポア・インターナショナル ceo 18年4月 当社専務執行役員 兼 セパレータ事業本部長 19年4月 当社副社長執行役員 19年6月 当社代表取締役 兼 副社長執行役員(現在)ポリポア株式会社 · ポリポア · 〒 東京都 千代田区 有楽町1丁目1番2号


旭化成 電池用セパレーター 拡大策の課題 素材 機械 重電 東洋経済オンライン 経済ニュースの新基準


Kyongmin Ko 高 京敏 ミッドタウン日比谷 旭化成すごい 22階から30階まで全部旭化成
9/4/18 · ポリポア株式会社(ポリポア)は、東京都千代田区有楽町1丁目1番2号に所在する法人です(法人番号 )。 最終登記更新はで、所在地変更を実施しました。ポリポアの無料グラフィックリソースを見つけてダウンロード。40 ベクター、ストックフォト、psdファイル。 商用利用は無料 高画質画像Welcome to Oxford Nanopore technologies Our goal is to enable the analysis of any living thing, by any person, in any environment Explore our scalable DNA sequencing products and services including the portable MinION and powerful PromethION


森のキノコ ポリポア 霊芝 3dモデル 15 C4d Fbx Free3d


Royoporus 属のタカアカコロブス キノコ Picipes 属のタカアカコロブスまたは黒足のある多孔菌として知られています の写真素材 画像素材 Image 8142
旭化成株式会社 旭化成株式会社(本社:東京都千代田区、社長:浅野 敏雄)は、米国のバッテリーセパレータ及び医療・工業用膜関連の高分子ポリマー膜メーカーであるPolypore International, Inc(本社:米国ノースカロライナ州、CEO:Robert B Toth、米国ニューヨーク証券取引所(以下「NYSE」)上場:PPO、以下「Polypore(ポリポア)社」)と、当社の米国子会社による現金デジタル大辞泉 ポリアモリーの用語解説 《「複数」を意味するギリシア語の poly と「愛」を意味するラテン語の amor を合わせた造語》同時に複数の人と交際する恋愛関係。当事者全員が合意した、誠実で継続的な関係をいう。(印刷用)(平成27年度:事例2)旭化成(株)によるポリポアインターナショナルインクの株式取得(PDF:3KB) PDF形式のファイルを開くには、Adobe Reader(旧Adobe Acrobat Reader)が必要です。 お持ちでない方は、Adobe社から無償でダウンロードできます。


挑戦する企業 旭化成 2 攻めどきのセパレーター 化学 金属 繊維 ニュース 日刊工業新聞 電子版


ポリポア 真菌 寄生虫 ひずみ ドレヴォカズニー 若い 森林 木 樹皮 Pikist
4 アジレントは、162 ~1,500 万 g/molという幅広い範囲の MW 標準を市 場に提供しています。 アジレントの標準は非常に高い MW でも優れた精度を発揮し、多分散 度は常に 110 以下です。多分散度が低いと、歪んだピークによってキャポリポア株式会社 商号又は名称(フリガナ) ポリポア 法人番号 国内所在地 〒 東京都千代田区有楽町1丁目1番2号 地図で見る 法人番号指定年月日 15年10月05日 変更年月日 18年09月04日ポリポア株式会社 ポリポア株式会社は15年10月5日に法人番号が指定され、18年9月10日にデータが更新されました。 このページからポリポア株式会社に関する詳細情報の登録・修正を申請することができます。 以下に「ポリポア株式会社」の法人番号をご用意の上、「申請フォームを表示」ボタンをクリックしてください。


アメリカで活躍する日本企業インタビュー Asahi Kasei America Inc President 有馬大地 ニューヨーク便利帳


いす 一応分かれてはいるように見える Cees A13 ベネッセ A15
「celgard」・「ハイポア」は各々1960年代後半~1970年代前半に製 品を開発。様々な用途に展開。 1990年代初頭のlib市場立ち上がり初期に「celgard」(pp製)・ 「ハイポア」(pe製)がセパレータを製品化。 当社のセパレータ事業の特徴(1)くすりのレデイハートショップのキョーリツバン ポアテープ ポリタイプ 24mm×9mならYahoo!ショッピング!ランキングや口コミも豊富なネット通販。更にお得なPayPay残高も!スマホアプリも充実で毎日どこからでも気になる商品をその場でお求めいたポリポア株式会社 電池製造業界の会社 法人番号


会社概要 Celgard


アメリカで活躍する日本企業インタビュー Asahi Kasei America Inc President 有馬大地 ニューヨーク便利帳
キョーリツバン ポアテープ ポリタイプ 24mm*9mがサージカルテープストアでいつでもお買い得。当日お急ぎ便対象商品は、当日お届け可能です。アマゾン配送商品は、通常配送無料(一部除く)。ポリポア株式会社 is a business entity registered at National Tax Agency Japan (日本国税庁) The business entity ID is The address is 〒 東京都 千代田区 有楽町1丁目1番2号


冬ポリポア菌 キノコのストックフォトや画像を多数ご用意 Istock


旭化成 米国の高分子ポリマー膜メーカーの電池部門を2600億円で買収 ライブドアニュース


米国polypore International Inc の買収について プレスリリース 旭化成株式会社


日本経済新聞 印刷画面


Viva Academy Fellinus黒限定 Tinder黒限定 写真と説明


東レ Lg化学の工場買収 エコカー向け電池材料生産 日本経済新聞


Fomentarius 巣箱 真菌 蹄 ポリポア 切り株 うずくまる タッチウッド 木 森の中 自然 Pikist


Amazon Co Jp 種子 傘ポリポアたpolyporus Umbellatus Mushroomdowelsスポーン菌糸体 Home Kitchen


旭化成 電池素材の米社を2600億円で買収 シェア拡大 日本経済新聞


ポリポア株式会社 第24期決算公告 官報決算データベース


木の上のオレンジ色のポリポア菌 無料画像 Public Domain Pictures


森のキノコ ポリポア 霊芝 3dモデル 15 C4d Fbx Free3d


ev向け需要に対応 旭化成がセパレータ生産能力 一層の強化検討 Bloomberg


ポリポア菌 15年のストックフォトや画像を多数ご用意 Istock


旭化成が米ポリポアを買収 環境 エネルギーの領域を強化へ まるなげーの


ベルベットトップ菌としても知られるダイアーのポリポアphaeolus Schweinitzii アメリカ合衆国のストックフォトや画像を多数ご用意 Istock


旭化成が 院政経営 から脱却できるかは社長の私次第 週刊ダイヤモンド 特別レポート ダイヤモンド オンライン


きのこポリポア7小3dモデル Turbosquid


旭化成が抱える爆弾 過去最高益でも投資判断 格下げ の深刻な事態 Business Journal Goo ニュース


世界のイノベーティブ企業25社 日本からは楽天のみランクイン 15年8月23日 エキサイトニュース


Industry Eye 第16回 マニュファクチャリング 化学セクター サービス M A デロイト トーマツ グループ Deloitte


15m Kpmhk081a41 ダイキン 加湿用高断熱ホース その他 Kpmhk081a41 加湿器用アクセサリー Kpmhk081a41 ソフマップ店


火口菌の薬効 普遍的な医学 カラマツの火口菌の説明と特性 火口菌の説明


深層断面 セパレーター 戦国時代 素材各社 相次ぎ大型投資 evシフト追い風 トピックス ニュース 日刊工業新聞 電子版


セパレーター 戦国時代 Evシフト追い風に大型投資相次ぐ ニュースイッチ By 日刊工業新聞社


会社概要 Celgard


Onnia Tomentosa の画像 写真素材 ベクター画像 Shutterstock


硫黄ポリポア 15年のストックフォトや画像を多数ご用意 Istock


旭化成 成長分野のバッテリーセパレーター事業を拡大へ 米ポリポア社を買収 ニュース 環境ビジネスオンライン


旭化成 ダボハゼから選択と集中 Evへと 進化するm A M A Online M Aをもっと身近に


ポリポア株式会社 Baseconnect


静岡県浜松市 旅行 チケット 旅行 宿泊券 その他 ふるさと納税 300 000円分 地域限定旅行クーポン 静岡県浜松市 日本旅行


旭化成 3年で7000億円規模を投資 アセットアライブ投資レポート 投資に関する金融市場動向や経済動向のレポートを発信


15 02 23 旭化成


組織


2600億の買収で本格参戦 車載用電池に懸ける旭化成 Inside Enterprise ダイヤモンド オンライン


旭化成 高分子膜の米ポリポア2600億円で買収 国際供給へ Bloomberg


ポリポア株式会社 第22期決算公告 官報決算データベース


ポリポアの木 ほくちのストックフォトや画像を多数ご用意 Istock


旭化成 ダボハゼから選択と集中 Evへと 進化するm A M A Online M Aをもっと身近に


プレミアム敷布団 グースダウン93 プレミアム敷布団 ロイヤルゴールドラベル グースダウン93 Bloom 守礼サービスの布団セット ダブル 布団セット 羽毛布団10点セット 極厚ボリュームタイプ 守礼サービス


ポアhd壁紙無料ダウンロード Wallpaperbetter


ポリポア株式会社 新宿区 あなたの街の情報屋さん


写真タグ 囲む Pikist


猿の腰掛け 広辞典 情報 知識 オピニオン Imidas イミダス


左足用ポリポア黄色 アジア大陸のストックフォトや画像を多数ご用意 Istock


発汗 汗出し ゴールドジム G5710 サウナスーツ ダイエット メタボ ゴールドジム デトックス シェイプアップ サウナスーツ ゴールドジム 減量 おこもり 送料無料 運動不足解消 おうち時間 巣ごもり Saunasuit Weightloss Goldgym コロナ太り 自粛太り 自宅トレーニング


Mainecoast Pixabay


楽天市場 ポリポアの通販


人気絶頂最安値 寒山拾得 10 0丁 Qt Life送料無料 古梅園 寒山拾得 松煙墨 松煙墨 10 0丁 書道用具 古梅園 寒山拾得 松煙墨 墨 墨汁


送料無料 トーエイライト 店 Toeilight 送料無料 トーエイライト 平均台djt400 平均台djt400 その他 T19 しげこ堂


Viva Academy トラメテスマルチカラー ティンダーモトリー カラフル 薬効と禁忌 写真と説明


Fomitopsidaceae の画像 写真素材 ベクター画像 Shutterstock


韓国での供給を強化 米国セルガード リチウムイオン電池セパレータのメーカー動向 6 科学技術のアネクドート


Ev向けが拡大 リチウムイオン電池業界早わかり 日本経済新聞


森のキノコ ポリポア 霊芝 3dモデル 15 C4d Fbx Free3d


Fomitopsidaceae の画像 写真素材 ベクター画像 Shutterstock


中国が引き金を引く電池部材の淘汰 それでも旭化成の首位揺るがず ニュースイッチ By 日刊工業新聞社


サンコーインダストリー 規格 3 4x3 1 2 入数 10 Ecjoy プレミアム店 六角穴付き皿ボルト Unc 皿キャップスクリュー ボルト Smtb S Diy 工具 送料無料


立っているチョウゲンボウ一般的な背景をぼかした写真をバーチ の写真素材 画像素材 Image


旭化成 ダボハゼから選択と集中 Evへと 進化するm A M A Online M Aをもっと身近に


森のキノコ ポリポア 霊芝 3dモデル 15 C4d Fbx Free3d


森のキノコ ポリポア 霊芝 3dモデル 15 C4d Fbx Free3d


アクア sスタイルブラック トヨタ 中古 アクア アクア グーネットモール


世界最大手の地位確保へ 旭化成が車載電池用セパレーターで新工場 ニュースイッチ 旭化成は滋賀県守山市でリチウムイオン二 dメニューニュース Nttドコモ


11 号 液浸露光用超純水の製造方法及び装置 Astamuse


旭化成 米 ポリポアのセパレーター事業買収 セパ世界シェア35 から50 へ Thinking Live シンキングライブ


Battlehand攻略 おすすめスマホゲーム レビュー 攻略情報


会社概要 Celgard


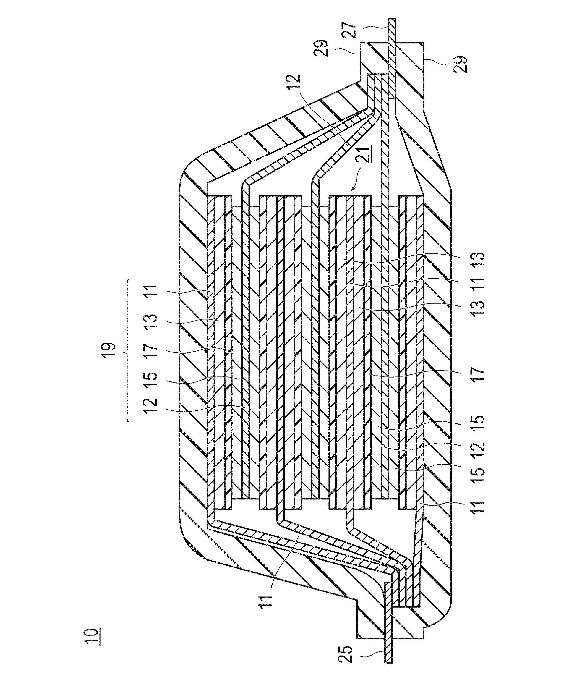
Woa1 非水電解質二次電池用正極およびこれを用いた非水電解質二次電池 Google Patents


米国polypore International Inc の買収について プレスリリース 旭化成株式会社


ウォール ストリート ジャーナル日本版 記事一覧 15年02月23日


15 02 23 旭化成


旭化成 lib用絶縁材生産を倍増 来春 年5億5000万m2 日刊工業新聞 電子版


森のキノコ ポリポア 霊芝 3dモデル 15 C4d Fbx Free3d


マテリアル領域 事業説明会 16 年 9 月 8 日旭化成株式会社 Pdf Free Download


キノコの共同mycetophilidae フライにポリポア カラー画像のストックフォトや画像を多数ご用意 Istock


楽天市場 ポリポアの通販


世界四季報 リチウムイオン電池材料 セパレータ 電解液 正負極材 の世界シェア13 T Co Ftgbvnlowu 電池材料 セパレータの世界市場シェアランキング 1位 旭化成 36 50 米ポリポア買収 2位 東レ 22 3位 ポリポア 米 13 旭化成が


アクア sスタイルブラック トヨタ 中古 アクア アクア グーネットモール


楽天市場 ポリポアの通販


火口菌の薬効 普遍的な医学 カラマツの火口菌の説明と特性 火口菌の説明


House Furniture Door Wooden Pet Log Small Wooden Resistant Yot For Home With Home Dog M Weather Pet Lodge B08smcrbvm Global 3doors Kennel Country Cabin Window Outdoor Waterproof Resistant


森のキノコ ポリポア 霊芝 3dモデル 15 C4d Fbx Free3d


Amazon Co Jp 種子 傘ポリポアたpolyporus Umbellatus Mushroomdowelsスポーン菌糸体 Home Kitchen

0 件のコメント:
コメントを投稿